PRESSURE VESSEL DESIGN

Based on the client’s input data, the following is created:

  • 3D Assembly – model created in 3D software from which we create 2D drawings.
  • Assembly drawing – shows the assembly of the pressure equipment with all parts and marked positions listed in the bill of materials and display details for welding. If necessary, they also contain: design data listed in the approval documentation, nameplate drawing, list, type and function of connections, list of revisions to the drawing and other data as needed.

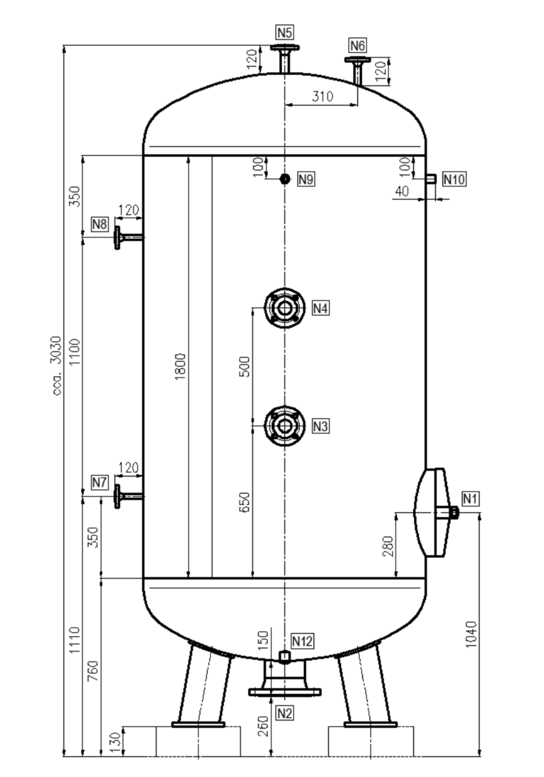
  • General Arrangment Drawing – the drawing for dimensional control shows the assembly of pressure equipment with quoted essential dimensions, the deviation of which must not be greater than that prescribed by the standard/code according to which the product is manufactured.

  • Bill of Material – list of applied materials according to dimensions and qualities.
  • Welding plan – display of all marked welds on pressure equipment